種子微波干燥機自控溫度裝置設計
發布時間:2023-03-23 14:03:00 瀏覽:1232次
目前,國內玉米種子包衣前的水分含量為11.5%~12.5%。將收獲后的谷物種子干燥至安全水分或包衣前要求的水分,是十分必要的過程。按脫水方式劃分,谷物種子微波干燥機分為以空氣為介質的干燥機、遠紅外干燥機、高頻干燥機、微波干燥機等。按種子干燥方法劃分,谷物種子干燥機有自然干燥和機械干燥兩種。
國內使用的干燥機大多是以空氣為介質的機械干燥機,為傳統干燥機,其通過加熱空氣把熱量傳給谷物,再由空氣把谷物蒸發出來的水分帶走。加熱空氣需要一定的溫度,這對種子發芽率有直接影響。溫度過高會降低種子發芽率,溫度過低則生產效率低、作業成本增加,因此,谷物種子干燥機必須具有精確控溫功能。目前,谷物種子干燥機上廣泛采用的是微電腦全自動控制系統。
1 自控溫度裝置的工作原理
通過風機作用,在溫度過高的熱空氣中自動摻入外界冷空氣,使熱空氣始終穩定在一定溫度,種子接觸的熱風溫度不變,可以達到穩定干燥的效果。在種子干燥機熱風室中安裝溫度傳感器 (熱電阻PT100),其溫度信號輸給溫控表后,溫控表經PID運算后輸出控制信號并直接控制電動執行器。電動執行器輸出軸通過聯軸器連接閥門軸,閥門軸固定有風門板,風門板開啟由溫度精確控制。一旦溫度高于設定值,則風門打開;反之則關閉。
2 自控溫度裝置的結構組成
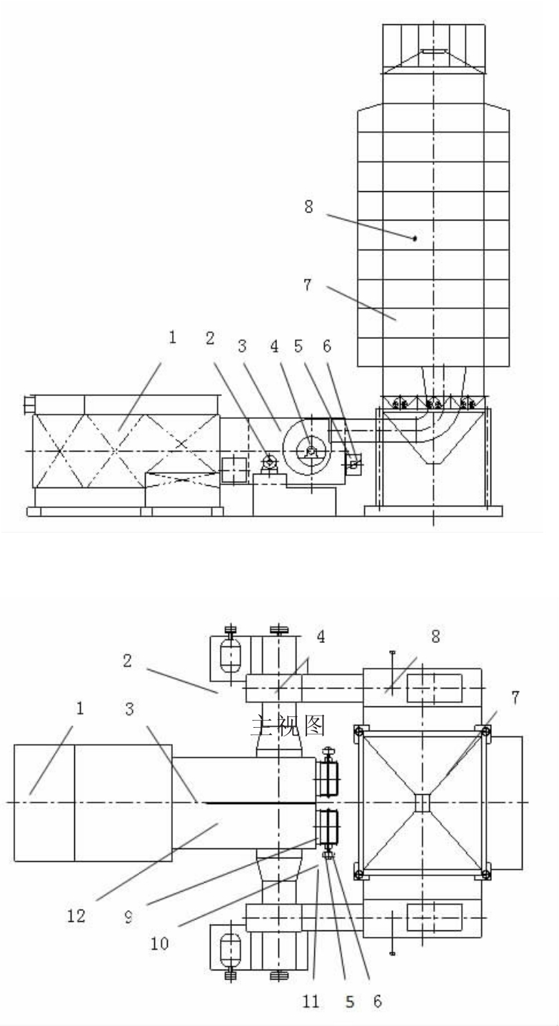
自控溫度裝置的結構如圖1所示。

圖1 自控溫度裝置的結構組成
Figure 1 Structural composition of automatic control temperature device
1.熱交換器;2.電機;3.混合室;4.主風機;5.調風筒;6.風門板;7.種子干燥機;8.溫度傳感器;9.閥門軸;10.聯軸器;11.電動執行器;俯12視.混圖合室中間隔板
該裝置主要由熱交換器、電機、混合室、主風機、調風筒(內含閥門軸和風門板)、種子微波干燥機、溫度傳感器(熱電阻PT100)、溫控表、電動執行器、聯軸器等組成。熱交換器用于把外界的冷空氣介質交換成熱空氣。主風機把熱空氣吸入混合室,再把熱空氣從風機出口壓入種子微波干燥機并穿透種子層,達到干燥目的。混合室中間有隔板,隔板兩側各固定一個調風筒。混合室內是負壓,當調風筒風門板打開時,外界冷空氣自動進入混合室與熱空氣混合,從而降低熱空氣溫度,熱風溫度恒定。
3 自控溫度裝置的工作過程
1)各個部件運轉平穩、可靠。
2)確保電源線、信號線接線正確。
3)設置溫控表參數。溫控表設定值SV設定為43℃(國家標準要求),報警1(AL1)設定為42℃,閥位顯示值OV顯示為0時風門板處于關閉狀態。按溫控表說明書確定輸入輸出類型代碼,輸入代碼為in 01E1(01表示平滑濾波系數,在00-04之間選擇;E1表示輸入信號熱電阻PT100,量程范圍-50.0~600.0℃),輸出代碼為ot 0019(其中,第1位“0”表示風門板反作用,即溫度高于設定值時打開;第二位“0”表示報警2方式代碼是無報警;“1”表示報警1代碼的上限報警即溫度高于設定值時報警;“9”表示繼電器直接控制電動執行器)。
4)工作狀態。工作準備就緒后開始烘干,溫控表測量值PV顯示溫度傳感器(熱電阻PT100)的實際測量溫度,它隨著爐溫的上升而增加。當溫度達到報警1(AL1)設定值42℃時,報警裝置開始報警,提醒司爐工注意操作;當溫度接近設定值SV設定的溫度43℃時,風門板打開,外界冷空氣進入混合室,從而降低熱空氣溫度,此時溫控表閥位顯示值OV在0和100之間變動,風門板全開時顯示100。
種子微波干燥機主要依靠風量和溫度干燥種子,在風量一定的情況下,穩定的熱風溫度至關重要。谷物種子干燥實踐表明,此自控溫度裝置能夠熱風溫度基本穩定,避免因爐溫波動影響熱風溫度以及操作人員誤操作導致的熱風溫度過高,減少干燥對種子發芽率的影響。自控溫度裝置結構簡單,操作方便,實用性強。
濟南阿達森機械設備有限公司
濟南阿達森機械設備有限公司